ΣΧΕΤΙΚΑ ΑΡΘΡΑ
Η Google δε σταματάει να μας εκπλήσσει με τις όλο και πιο «τρελές» ιδέες της. Ο λόγος για τον Larry Page, τον συνιδρυτή της Google, ο οποίος σκέφτηκε να ξοδέψει κρυφά από όλους, περισσότερα από 100 εκατομμύρια δολάρια –ναι καλά ακούσατε- στην κατασκευή ιπτάμενων αυτοκινήτων. Τα χρήματα αυτά δεν ήταν της επιχείρησης αλλά δικά του.

Μάλιστα, ο δισεκατομμυριούχος Larry Page διευθύνων σύμβουλος της Alphabet –θυγατρικής εταιρίας της Google- έχει διοχετεύσει άπειρα χρήματα σε μετρητά σε 2 διαφορετικές εταιρίες, οι οποίες εργάζονται σκληρά πάνω στην διαστημική τεχνολογία. Ωστόσο, η συμμετοχή του σε αυτό, πρέπει να παραμείνει μυστική για όλους τους υπαλλήλους των εταιριών. Το όνομα του Larry Page δεν έχει ακουστεί ποτέ στους κύκλους της Zee Aero. Αντ’ αυτού όλοι οι εργαζόμενοι για να μην αποκαλύψουν πως ο διευθύνων σύμβουλος της Alphabet, συνεργάζεται μαζί τους, τον αποκαλούν με το όνομα GUS, από το “Guy UpStairs” ή αλλιώς «ο άνθρωπος από τον πάνω όροφο»!
Μία από αυτές τις εταιρίες είναι η Zee Aero, η οποία ιδρύθηκε το 2010 και βρίσκεται πολύ κοντά στα κεντρικά γραφεία της Google. H συγκεκριμένη εταιρία έχει στη διάθεσή της 2 οχήματα κινούμενα με ηλεκτρική ενέργεια, πάνω στα οποία πειραματίζεται δοκιμαστικά.
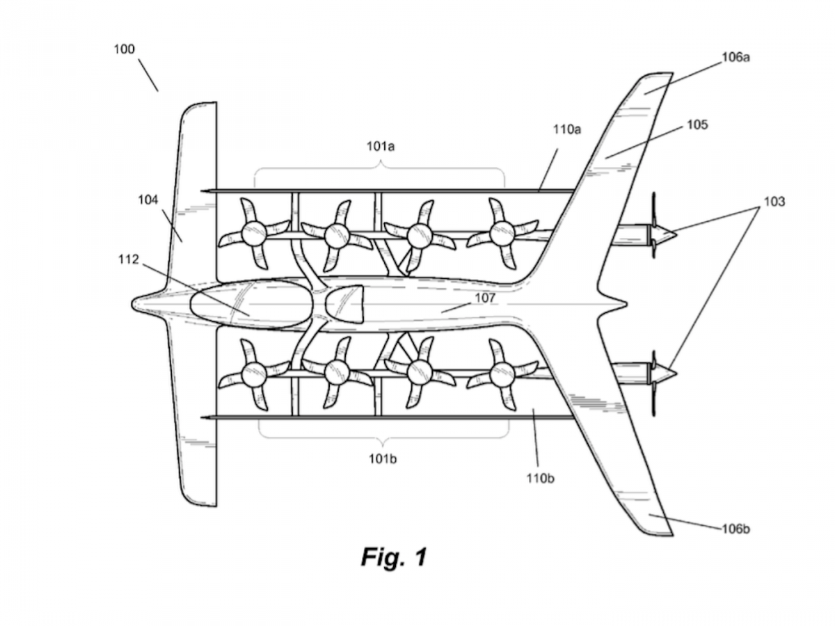
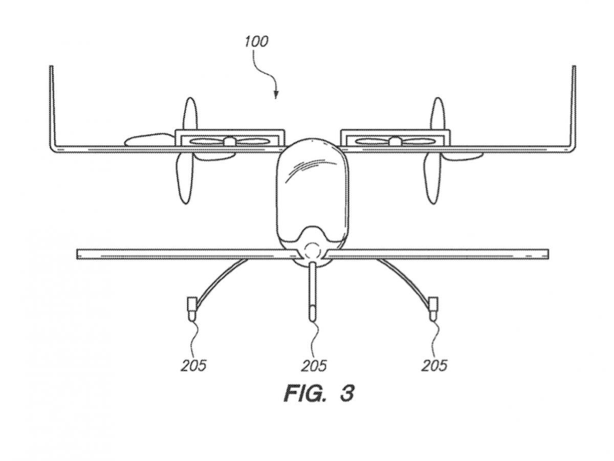
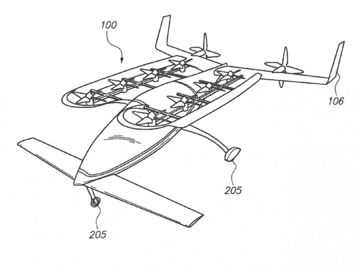
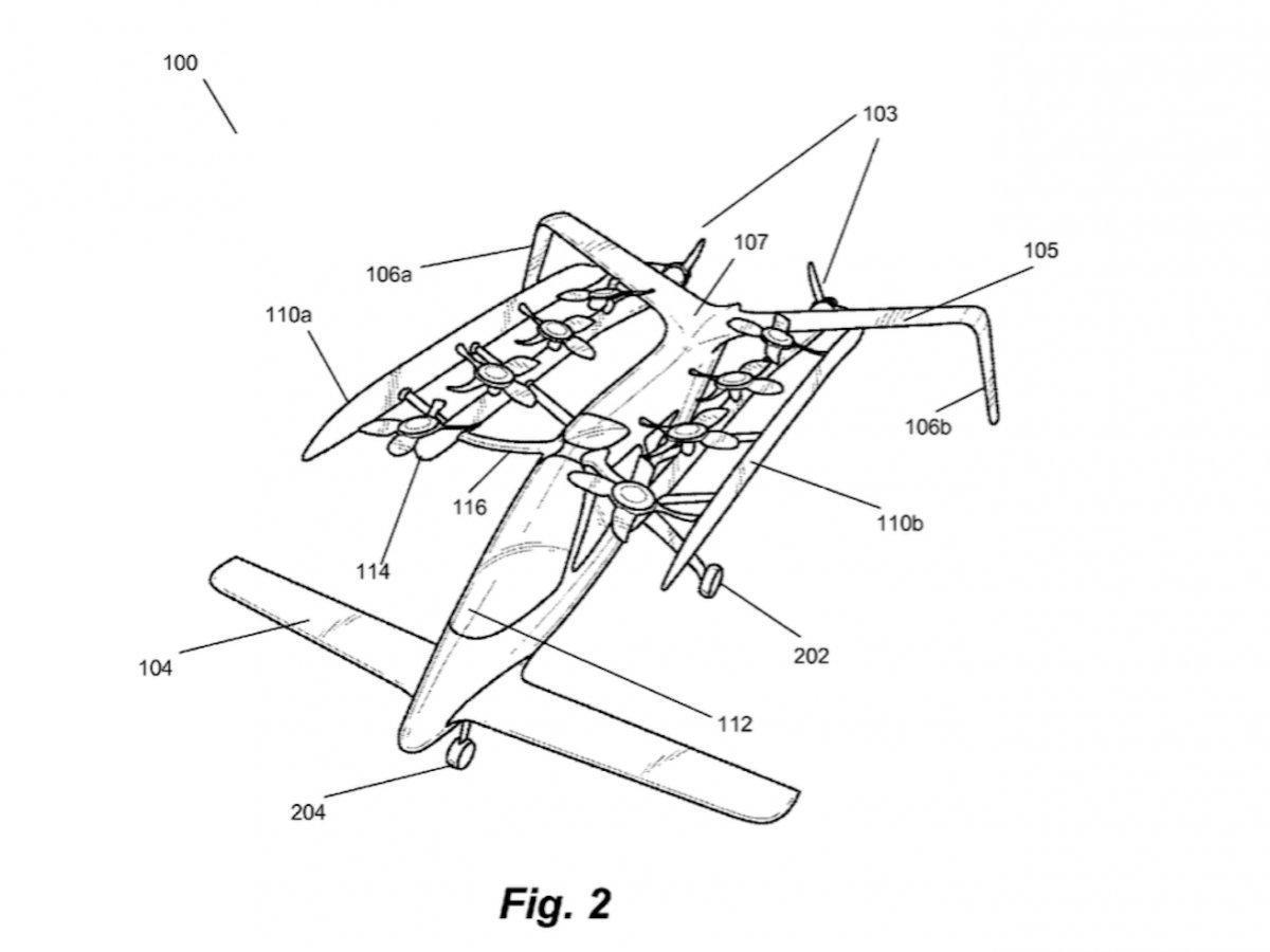
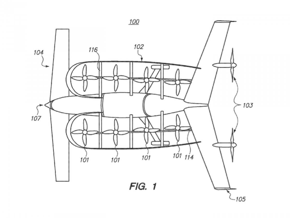
Αυτή τη στιγμή έχουμε στα χέρια μας και μπορούμε να σας παρουσιάσουμε μερικά από τα σχέδια τα οποία έχουν γίνει για τα αυτοκίνητα αυτά από την Zee Aero. Σύμφωνα με πηγές τα σχεδιαστικά διαγράμματα που βλέπετε στη συλλογή, μας δίνουν μία γεύση για το πώς πρόκειται να είναι αυτό το άκρως μυστικοπαθές project.
Αυτό το μακροπρόθεσμο όραμα περί ιπτάμενων αυτοκινήτων, έχει ως στόχο να δημιουργηθούν αεροσκάφη μικρότερου μεγέθους ικανά να δρουν με παρόμοιο τρόπο στη γη. Αυτά τα αεροσκάφη-αυτοκίνητα διαθέτουν ειδικούς έλικες για κάθετες απογειώσεις, έτσι ώστε να εξοικονομούν χώρο και να «παρκάρουν» σε χώρους στάθμευσης αυτοκινήτων.
Το μόνο σίγουρο είναι πως όλες αυτές οι ιδέες περί ιπτάμενων αυτοκινήτων δεν παύουν να είναι άκρως επαναστατικές και πρωτάκουστες για τους «κοινούς θνητούς».
ΔΙΑΒΑΣΤΕ ΑΚΟΜΗ:
http://www.mononews.gr/o-soros-xanachtipa-pou-ependii-o-gkourou-ton-agoron-ke-giati/52195
ΔΙΑΒΑΣΤΕ ΑΚΟΜΗ:
http://www.mononews.gr/giati-den-apanta-o-trifon-alexiadis/52194
ΕΙΔΗΣΕΙΣ ΣΗΜΕΡΑ
- Kavita Patel (Roche): Η καινοτομία σε «σημείο θραύσης» – Η επιστροφή του 76% των εσόδων κάνει το περιβάλλον ασφυκτικό
- Κωνσταντίνος Κροντηράς: Το οινοποιείο στην Αργεντινή και στο Μαρούσι και η Roxana Shipping με τα 12 πλοία
- Τσαβδαρίδης (υφ. Ανάπτυξης) στο mononews: Το σχέδιό μας για τις επιπτώσεις του πολέμου – Τι θα κάνουμε με φόρο στα καύσιμα και στα υπερκέρδη των διυλιστηρίων
- Maison Valentino: Η σύγκρουση Απόλλωνα και Διονύσου στο πεδίο του μπαρόκ δίνει πνοή στη νέα συλλογή










Μοιραστείτε την άποψή σας
ΣχόλιαΓια να σχολιάσετε χρησιμοποιήστε ένα ψευδώνυμο. Παρακαλούμε σχολιάζετε με σεβασμό. Χρησιμοποιείτε κατανοητή γλώσσα και αποφύγετε διατυπώσεις που θα μπορούσαν να παρερμηνευτούν ή να θεωρηθούν προσβλητικές. Με την ανάρτηση σχολίου, συμφωνείτε να τηρείτε τους Όρους του ιστότοπου contact Δημιουργήστε το account σας εδώ, για να κάνετε like, dislike ή report ακατάλληλα/προσβλητικά σχόλια.